Hafner Autogyro and Helicopter Projects
This article assumes you know the difference between an autogyro/autogiro/gyroplane and a helicopter. The link below provides an explanation of the difference.
<Click here>
This old film on YouTube is also highly instructive.
<Click here>
Intoduction
If you had been a member of the British Observer Corp in 1940, keeping a watch of the skies above Britain during the events of that pivotal year, you might have been intrigued by a couple of recognition silhouettes to be found in the official aircraft recognition guide.¹ They showed "Experimental Aeroplane" numbers 115 and 116, with no hint of manufacturer, role or performance. Experimental Aeroplane 116 was clearly some type of autogyro, with a tractor propeller. Experimental Aeroplane 115 was an altogether stranger design, with only a large rotor above a curiously thin, slab-sided fuselage. You might have wished to get a glimpse of these curious new aircraft or perhaps expected to hear of their exploits in combat but you would have waited in vain, as neither aircraft was built. However, the story behind these two silhouettes is still worth telling.

The official Air Ministry recognition silhouette of "Experimental Aircraft 116" above. It differs in detail from the known drawings of the AR IV, particularly in the cockpit window configuration.

The official Air Ministry recognition silhouette of "Experimental Aircraft 115" .
Genesis
In the early 1930s, Austrian engineer Raoul Hafner and his associate Bruno Nagler had sought to design a practical helicopter (a machine they called the "Revoplane"). They hoped to use deflected downwash from the rotor to counter the torque of the engine.

Hafner (at right) and Nagler (seated) with their "Revoplane" showing their early rotor-hub design. The radial engine drove the rotor through an extension shaft.

View of the rear of the Revoplane showing the two control surfaces , rather like dragonfly wings but folded like a butterflies wings, meant to counteract the torque of the rotor.

Amazingly the Revoplane RII is still in existence, preserved at the excellent Helicopter Museum in Weston-Super-Mare UK.
Their attempt was unsuccessful but in the process they perfected a new design of hub rotor, the "spider-web-hub", which offered both cyclic and collective pitch control in one unit. Raoul Hafner got financial backing from Britain and so moved there. Still hoping to eventually design a workable helicopter he decided that a first step would be to use the spider-web-hub on an autogyro. The result was the "AR III", built to his design by the Martin-Baker Company, which out-performed all existing autogyros for ease of control. His design could "jump" into the air without any take-off run, something contemporary autogyro designs could only do by using a shaft extension from the engine. The ARIII first flew in September 1935 (confirmed by a report and photograph of it in the air in The Aeroplane magazine that month). It was then experimented with and modified until Hafner was confident it could be demonstrated with confidence. These demonstrations started in February 1937. The test and demonstration pilot for many of the flights of the ARIII was the noted aviator AE Clouston. One of the demonstrations was for the Royal Navy, unfortunately Clouston arrived early for the display and tried to impress some lady office-workers in a building nearby by hovering outside their window, this then led him to misjudge his landing and he crashed just as the Royal Navy party arrived (the ARIII was repaired, see AE Clouston's autobiography "The Dangerous Skies").

The Hafner AR III autogyro. Registed as G-ADMV to a Mr TV Welsh (as an Austrian national, Hafner was not allowed to register a British aircraft). It was built for Hafner by the Martin-Baker company, who charged him £930. It first flew in September of 1935, but then went on to have substantial modifications, not appearing in its final form until 1937. It is its first flight in this final configuration, on the 6th of February 1937, that is mistakenly listed in a lot of publications.
Autogyro and helicopter development at that time was something of an international affair with a free exchange of ideas and inventions. However, other designers were not aware of the huge leap forward Hafner had made with his spider-web-hub. This was changed by a talk he gave in October 1938 to a meeting of rotorcraft pioneers at the Franklin Institute in the USA. This electrified the audience and was a turning point in helicopter development. It was during this talk that Hafner outlined the new helicopter design he was working on. " It consists essentially of a single low-torque high-speed rotor controlled similarly to the AR III Gyroplane, and a suspended fuselage adapted to receive aerodynamically the requisite balancing torque from the rotor down-wash. Its appearance may be strange to eyes used to aeroplane lines, but the fact remains that it represents structurally and mechanically a logical combination of practical features, and my confidence in its aeronautical authorities."
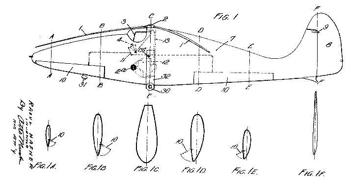
Today we are most familiar with the type of helicopter pioneered by Igor Sikorsky, where a tail-rotor counteracts the effect of the torque of the main rotor. Hafner hoped to counteract this torque by the shape of the fuselage itself (something he had hoped to achieve in the earlier Revoplane with movable vertical slat-like rudders). His US patent (US2338935A), filed on the 6th August 1938, shows the thin fuselage incorporated a subtle twist in its structure to deflect the downwash slightly to achieve the counteracting force. The front portion of the fuselage had an asymmetric aerofoil profile in one direction while the rear fuselage had it in the opposite direction. At the bottom of each section of the fuselage were two "flaps", on opposite sides of the fuselage (marked as "10" on the diagram), to provide the necessary control of rotation around the central axis.

Diagram from Hafner's helicopter patent showing the asymmetrical aerofoil profiles of the fuselage and the system of control.
In an interview published in the US Popular Flying Magazine in March 1939, this is how Hafner described his thoughts on helicopter design.
"You see." he explained, "the torque effect of my rotor will be extremely low. My rotor speed, and its lifting capacity, will be very high. The blades will be strong, but long, slim and rather thin."
"Now." He paused. This was the main point. "The downwash of air from a rotor is practically equal forward and aft, isn't it? Very well. Why don't we let the fuselage itself damp out the rest of the torque?"
"The fuselage will be long and slim. It well have pronounced vertical surfaces. The downwash at the forward end of the fuselage will beat against the right side of the fuselage, that at the back against the left side of the fuselage. By proper design, to compensate for forward speed, we can make those forces balance each other."
Military Applications
The military applications of autogyros and helicopters were investigated by all the major powers in the 1930s, but the lack of a practical helicopter design and the small load-carrying capacity of autogyros restricted their scope. One of the services that were keen to explore the possibilities of rotorcraft was the British Royal Navy. As early as 1930 a Cierva C-8 and C-19 were used to trial landings onto a dummy aircraft carrier laid out on a grass airfield. In September 1935 a Cierva (Avro built) C30A Rota Mk I autogiro⁵ was trialled from the carrier HMS Furious. This led to the issuing the following year of specification 43/36 "A Gyroplane for the Fleet Air Arm ". One of the roles of the gyroplane was to be "night shadowing"; keeping contact with an enemy vessel or fleet at night.² The Cierva C40 designed for this role had side-by-side seating. A small batch was produced and it was tested by the Navy the following year but rejected (the C40s were passed on to the RAF for Army co-op duties, at least one served in France in 1940). In 1938, specification S22/38 was issued calling for an autogyro or helicopter that could be used for spotting or fleet-shadowing and which could also be used for army co-op duties. It seems highly likely that the Air Ministry was impressed by Hafner's pioneering work and had written the specification around the designs he hoped to produce. However, they had to be open to competitive tenders for major production contracts and so the specification also elicited other responses; Cierva tendered their C-39 autogiro⁵ design and Weir Brothers their W-7 two-rotor helicopter (Fairey also produced an outline proposal). As the Air Ministry had hoped, the tender was won by Hafner with his design to be produced by the Pobjoy company, itself a part of the larger Shorts Brothers group of companies. Two prototypes were ordered with the serial numbers V8906 and V8909 allocated to them. It seems likely that the first would have been the smaller two-seat AR IV design to serve as a smaller-scale flying test-bed for the larger three-seat AR V design which would presumably have been the production version (S22/38 specified a three-person crew and it is hard to see the small AR IV having the endurance to meet the fleet-shadowing requirement). Shorts had a history of producing sub-scale flying test-beds for their major projects, like the S31 half-scale Stirling and the Short Scion which reproduced the layout of the Short flying boats on a smaller scale. It had been the Pobjoy division of Shorts that had produced these smaller-scale aircraft.

What the prototype AR IV (serial no V8906) might have looked like based on archive drawings published in articles by Phil Butler in Air Britain's Aeromiltaria magazine in 2013. You can see it differs in minor detail from the "EA116" silhoutte above. Power was to be provided by a Pobjoy Niagara III engine.

What the prototype AR V (serial no V8909) might have looked like based on archive drawings published in articles by Phil Butler in Air Britain's Aeromiltaria magazine in 2013. Notice the "crows nest" seat for the third crew member and the overall larger dimensions. It was to be powered by a Pobjoy Nile engine, a type that never went into production.
However, by this time Hafner had already conceived his helicopter design and to produce an autogyro must have seemed a backward step. The Air Ministry ordered a prototype of the single-seat PD6 helicopter (allocated serial number T3005) even before the order for S22/38 was placed. The order for the PD6 was covered by the later specification 10/39 which was written specifically for the PD6 helicopter, specifying a top speed of 130 mph, an endurance of 2 hours and ability to hover for at least 15 minutes. Being a specification for a proof-of-concept prototype only, and not a production aircraft, the specification did not have to go out to tender.
Disappointment
So now it can be seen that the recognition silhouette for "EA115" represents the one-off prototype PD 6 helicopter (ordered first ) while "EA116" represents the prototype AR IV autogyro. Neither was meant for large-scale production themselves, but as lead-ins to the PD 7 helicopter and AR V autogyro respectively. The Second World War had been going on for some three months when Hafner got the orders for both projects (in January 1940) and it is likely he was already well advanced, especially on the helicopter project. The Air Ministry did not usually issue recognition silhouettes until the aircraft depicted were close to flying. So it is possible that construction of both prototypes was well advanced. Then in May 1940, the German Blitzkrieg broke in the West and the British Government was panicked into bringing in Defence Regulation 18B which called for the detention of all "enemy aliens". Raoul Hafner found himself interned ³ and his project was mothballed. He became a British citizen and was quickly released but by then Lord Beaverbrook's take-over of British aircraft manufacturing had bought an end to all development of new aircraft types with all resources focused on production and improvement of existing types. The Shorts/Pobjoy factory at Rochester had also been hit by heavy bombing raids and it may be that any prototypes for the AR IV and PD 6 (if they ever existed) had been destroyed. The Royal Navy seems to have lost all interest in rotorcraft until the advent of the Sikorsky R-4 Hoverfly at the end of the war opened their eyes to new possibilities.

What the prototype PD 6 (serial no T3005) might have looked like based on archive drawings published in articles by Phil Butler in Air Britain's Aeromiltaria magazine in 2013.

What the production PD 7 might have looked like based on archive drawings published in articles by Phil Butler in Air Britain's Aeromiltaria magazine in 2013. A much larger design than the PD 6, it had a second crewman who could operate a cannon or machine gun. It featured a retracting undercarriage.
Hafner found an outlet for his expertise in the Rotachute project. When he took this on he probably thought it would only take a few months but it later morphed into the grander "Rotabuggy" and "Rotatank" projects which took up his time until 1944. Then he joined the Bristol Aircraft company to head up their new helicopter division. Their first product was the Type 171 Sycamore. The very name Sycamore might have indicated a desire to emulate the shape of the seeds of that tree, thin and flat-sided, redolent of his earlier designs. The blades and hub of the Sycamore did indeed duplicate closely that of the PD6/ PD7 designs. However, Hafner abandoned his pre-war thoughts on fuselage shape to counter the engine torque and instead adopted the Sikorsky pattern by using a tail-rotor. Had Hafner decided his original idea was impractical? Or perhaps he had just decided that a tail-rotor provided better control in the hover? It would be interesting for a modern-day radio-control model helicopter enthusiast to try to emulate his original designs and see if they would have worked. Hafner continued to play a pivotal part in British helicopter development and with the amalgamation of companies in the 1960s, he became technical director of Westland Aircraft. Sadly he died in a sailing accident in 1980.
The Bristol Sycamore helicopter.
Hafner's contribution to the development of the helicopter has been sadly underrated. He was the first person to combine both cyclic and collective pitch in a rotor hub and therefore do away with the need to tilt the whole rotor. Other designers found it possible to achieve the same effect with different designs of hub that did not impinge on Hafner's simple "spider-web-hub" design patents, but it was his innovation that had shown the way forward in helicopter design at that important presentation at the Franklin Institute in 1938.
Might-have-been paintings
The following illustrations are based on plans for the projects published in Air Britain's Aeromiltaria magazine in 2013 in articles by Phil Butler. All images © John Dell.

The Hafner AR IV autogyro was to have been a small two-seater designed to be powered by a small Pobjoy Niagara III ⁴ radial engine. I've painted it as if it was in service with the Royal Navy, complete with smoke-floats mounted below the fuselage. However it is likely that the AR IV was only meant as a smaller-scale development prototype for the larger AR V. It would not have had the endurance for the fleet-shadower role although it might have been suitable for short-range navy gunfire direction and anti-submarine scouting.

The Hafner AR V was a larger three-seater, with one of the crew housed in an open cockpit behind the rotor for a better all round view, reflecting its fleet-spotter role. It was designed to be powered by a 425 horsepower Pobjoy Nile engine, a powerplant that never saw production.

The Hafner PD 6 helicopter was to have had a remarkable thin fuselage that was designed to counter the torque of the rotor. I have painted it as if it had seen service with the Royal Navy but it was likely to have only been meant as a smaller development prototype for the PD 7.

The PD 7 was to have been a larger two-seat design for a helicopter. It had the same type of thin, flat-sided fuselage to counter torque and the added refinement of a retracting undercarriage. It could be armed with a large cannon or machine gun fired through the side openings by the second crewman. I've painted it as if it had seen action in the Far East.
Links
Hafner's US Patent for a helicopter (2338935A) on the "Free Patents Online" website.
Hafner AR III Autogyro video on YouTube
Hatfield Airshow video - The Hafner ARIII appears near the end showing its ability to take off vertically and land nearly vertically.
Video of the earlier Hafner-Nagler Revoplane of 1932 - It shows an early version of the "spider-web" hub and the rudders to deflect the downwash hint at what Hafner hoped to use the thin fuselage of his PD6 and PD7 designs to achieve.
Another shorter but better-quality video of the Hafner-Nagler Revoplane under test.
Article on the development of the Bristol Sycamore helicopter on the Heli-Archive website.
Notes
¹ Air Publication (AP) 1480X
² In the previous decade, the Navy had adopted a policy of restricting the types of aircraft carried by its carriers to just two types; the combined spotter/torpedo-bomber type exemplified by the Fairy Swordfish and Blackburn Shark and the fighter/dive-bomber type fulfilled by the Blackburn Skua. As the 1930s drew to a close this policy was dropped and the Navy was free to specify more specialised aircraft types such as the Hafner rotorcraft. However it should be noted that the Royal Navy also explored other solutions to the role of fleet-shadowing, such as the S23/37 specification for a large four-engined aircraft.
³ Dr Gustav Lachmann of Handley Page was another victim of the British fear of "enemy aliens".
⁴ The Niagara III engine specified for Hafner's small, two-seat, cabin autogyro was used on another British small, two-seat, cabin autogyro that actually flew, the Westland CL 20, built for the Cierva Company. It was not very successful, not being able to fly higher than 90 metres (300 feet) on the power of the engine. Hafner's design looks smaller and lighter than the CL20.
⁵ The Cierva company used the trade-name and term "autogiro" for their products, rather than the more common current spelling of "autogyro".
Sources
Hafner Projects - Parts 1 and 2 : Two articles by Phil Butler in the Air Britain Aeromilitaria Magazine (Part 1 in the September 2013 edition, Part 2 in the December 2013 edition).
A Critical Re-Examination of the Franklin Institute Rotating Wing Aircraft Meeting of October 28-29 1938: Facts and Myths Surrounding the Foundation of Autogiro/Convertiplane/Helicopter Development in America and Europe. - A presentation by Dr Bruce H Charnov to the American Helicopter Society, May 2006. It can be found archived on the "Wayback Machine" at <this link>.
"The British Aircraft Specification File": by KJ Meekcoms and EB Morgan, published by Air Britain, ISBN 0 85130 220 3.
"Here comes a Whirligig": - An article by Donald Frost in the US Popular Aviation Magazine of March 1939, reporting on the Frankin Institute meeting and quoting Hafner.
"The Evolution of the British Rotorcraft Industry" : A paper by David Gibbings in the Journal of Aeronautical History (paper no 2012/07).
"British Rotorcraft": an article by Raoul Hafner in the Centenary Journal of the Royal Aeronautical Society (number 661, Volume 70, January 1966).
"Seeking the Elegant Solution" : An article by Ben Dunnell in Aeroplane magazine September 2019 (a review of previous contemporary articles about Hafner from the Aeroplane magazine).
"NOTAR Version 0.1 - The ongoing saga of an absent tail rotor": An article by Paul Jackson in the Spring 2020 edition of Air Britain Aviation World.
"Bristol Helicopters - A Tribute to Raoul Hafner": Book by Jack Hobbs, published by Frenchay Publications of Bristol, 1985. ISBN 0 947662 01 4 (paperback edition).
"The Dangerous Skies" by AE Clouston (first published in 1954 by Cassell & Co) mentions testing and demonstrating the ARIII.
"British Built Aircraft - Volume 1 - Greater London" : By Ron Smith, published by Tempus, 2002, ISBN: 0 7524 2770 9. It explains the mixup about the date of the first flight of the ARIII.
Royal Aircraft Establisment report BA857 detailed the results of trials in 1930 of a Cierva C-8 and C-19 autogiro onto an area of airfield laid out to represent an aircraft carrier and with wind conditions meant to simulate the carrier steaming into wind.